Electricals

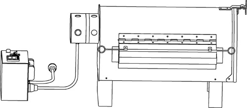
This mailbox annealer was first developed in the early 1990s. It was outfitted with an analog pyrometer and the power was controlled with a 1000 Watt dimmer switch. This is all low tech, but today the analog pyrometer costs about $140.00 and the dimmer switch costs about $30.00. And I have changed my mind about manual annealing. Years ago it was acceptable to have marginal annealing but not today. If you are building this yourself I recommend that you use one of our Auber kits. Or get in contact with Fuji or Omega for other brand names. If you don't want to build it yourself match the kiln to your favorite desk top annealer from Joppa Glassworks. The kiln and controller will look something like this:

MAILBOX IMAGE
basket space
For more information on the controllers, click here.
basket space
For more information on how to build this kiln's electrical components: click here